核心提示:IT之家9月11日消息,OPPO广东移动通信有限公司上周申请注册了多个“AndesGPT”“AndesAI”商标,国际分类为科学仪器、通讯服务、网站服务,当前商标状态均为申请中。参考IT之家此前报道...
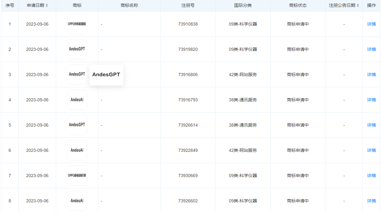
IT之家 9 月 11 日消息,OPPO 广东移动通信有限公司上周申请注册了多个“AndesGPT”“AndesAI”商标,国际分类为科学仪器、通讯服务、网站服务,当前商标状态均为申请中。

参考IT之家此前报道,OPPO 在今年 8 月宣布基于 AndesGPT 打造的全新小布助手即将开启大型体验活动。
据介绍,?AndesGPT?是 OPPO 安第斯智能云团队打造的基于混合云架构的生成式大语言模型。该团队在两年前开始对预训练语言模型进行探索和落地应用,自研了一亿、三亿和十亿参数量的大模型 OBERT,OBERT 也曾一度跃居中文语言理解测评基准 CLUE1.1 总榜第五名、大规模知识图谱问答 KgCLUE1.0 排行榜第一名。
OPPO 透露,AndesGPT 在 OBERT 模型训练经验的基础上融合了中文对话数据的持续学习、指令精调、人类反馈强化学习和知识增强等关键技术,在今年 6 月的 C-Eval 评测榜单上曾位列第五名。
广告声明:文内含有的对外跳转链接(包括不限于超链接、二维码、口令等形式),用于传递更多信息,节省甄选时间,结果仅供参考,IT之家所有文章均包含本声明。
